2023年春节即将来临,为切实加强节日期间的安全生产管理工作,并有效防范和遏制各类安全事故发生,确保大家能够度过一个安全、祥和、温馨的春节,外滩设施于近期针对公司在管项目进行了节前安全生产大检查。
本次安全检查,基于POMS平台上已经制定的春节节前安全检查计划内容,按计划频次节点,在年前一周发出春节节前安全检查工单,由项目经理和专业主管对现场暖通、强电、弱电、和给排水等专业设备设施及特种设备进行安全性检查。
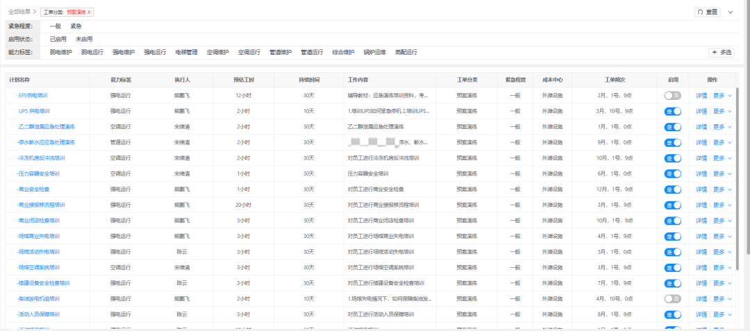
以下以外滩设施某在管商业项目为例,展示该项目春节节前安全检查计划内容:

节前安全检查计划详情
01
柴油发电机房


机油检查、防冻液液位检查


检查油箱油位、检查电瓶电压
02
公共区域

电梯安全检查
03
冷冻机房


水泵震动检查、机柜安全检查
04
消防水泵房


机柜安全检查、灭火器检查

年度培训计划

年度设备检测计划
往期推荐

外滩设施受邀参加由中指研究院主办的“2022全国物业服务IFM专题研讨会”

关于员工技能工效提升的一些尝试

关于员工工单绩效的一些探索

「服务质量篇」之提升报修响应及时率

科学调配,外滩设施为项目复工提供有力保障

好好算一算,你的项目要有多少人才算合格


点击上方

点个